# 建筑规范
为建筑规范进行数字化赋能,建筑规范本身只是文字内容,这些文本内容其本身的价值较低。
通过专业人士对其进行数字化标记后,规范内容将被赋能,并产生巨大的使用价值。

# 建筑构件与扩展对象
# 建筑构件
| 专业 | 一级系统 | 二级系统 | 三级系统 |
| 建筑结构 | 建筑外围护系统 | 外墙 | 外混凝土墙 |
| 外砌体墙 | |||
| 外装饰墙 | |||
| 建筑柱 | |||
| 结构柱 | 框架柱 | ||
| 暗柱 | |||
| 幕墙 | 石材幕墙 | ||
| 铝板幕墙 | |||
| 玻璃幕墙 | |||
| 外门 | 平开门 | ||
| 推拉门 | |||
| 上提门 | |||
| 上翻门 | |||
| 下滑门 | |||
| 折叠门 | |||
| 卷帘门 | |||
| 旋转门 | |||
| 外窗 | 推拉窗 | ||
| 平开窗 | |||
| 上悬窗 | |||
| 下悬窗 | |||
| 屋面 | 坡屋面 | ||
| 平屋面 | |||
| 装饰构件 | |||
| 设备安装孔洞 | |||
| 其他建筑构件系统 | 楼面 | ||
| 地面 | |||
| 地下外围护墙体 | |||
| 地下外围护柱 | |||
| 地基 | |||
| 基础 | 条形基础 | ||
| 独立基础 | |||
| 满堂基础 | |||
| 桩基础 | |||
| 楼梯 | 现浇混凝土楼梯 | ||
| 整体式楼梯 | |||
| 装配式楼梯 | |||
| 内墙 | 剪力墙 | ||
| 隔墙 | |||
| 砖墙 | |||
| 柱 | 构造柱 | ||
| 框架柱 | |||
| 暗柱 | |||
| 梁 | 基础梁 | ||
| 框架梁 | |||
| 连梁 | |||
| 圈梁 | |||
| 过梁 | |||
| 内门 | 平开门 | ||
| 推拉门 | |||
| 上提门 | |||
| 上翻门 | |||
| 下滑门 | |||
| 折叠门 | |||
| 卷帘门 | |||
| 旋转门 | |||
| 内窗 | 推拉窗 | ||
| 平开窗 | |||
| 上悬窗 | |||
| 下悬窗 | |||
| 台阶 | |||
| 散水与明沟 | |||
| 檐口 | 挑檐板 | ||
| 滴水檐 | |||
| 天沟 | |||
| 坡道 | |||
| 保温层 | |||
| 栏杆 | |||
| 栏板 | |||
| 电梯 | 普通客梯 | ||
| 消防电梯 | |||
| 室内装饰装修 | |||
| 设备安装孔洞 | |||
| 各类设备基础 | |||
| 运输设备 | |||
| 给排水 | 给排水系统 | 给水系统 | 给水系统 |
| 热水回水系统 | |||
| 热水给水系统 | |||
| 直饮水系统 | |||
| 排水系统 | 污水系统 | ||
| 废水系统 | |||
| 雨水系统 | |||
| 中水系统 | 中水处理系统 | ||
| 中水供水系统 | |||
| 循环水系统 | 冷却循环水系统 | ||
| 游泳池循环回水系统 | |||
| 游泳池循环给水系统 | |||
| 水景循环系统 | |||
| 消防系统 | 室外消火栓系统 | ||
| 室内消火栓系统 | |||
| 自动喷水灭火系统 | |||
| 防火幕冷却防护水幕(开式)系统 | |||
| 窗玻璃冷却防护水幕(闭式)系统 | |||
| 大空间智能型主动喷水灭火系统 | |||
| 固定消防炮灭火系统 | |||
| 水喷雾灭火系统 | |||
| 细水雾灭火系统 | |||
| 气体灭火系统 | |||
| 泡沫灭火系统 | |||
| 消防器材 | |||
| 暖通空调 | 暖通空调系统 | 暖通水系统 | 冷热水供水系统 |
| 冷热水回水系统 | |||
| 冷水供水系统 | |||
| 冷水回水系统 | |||
| 热水供水系统 | |||
| 热水回水系统 | |||
| 空调机组供水系统 | |||
| 空调机组回水系统 | |||
| 冷凝水系统 | |||
| 冷却水供水系统 | |||
| 冷却水回水系统 | |||
| 冷媒管 | |||
| 冷冻水供水系统 | |||
| 冷冻水回水系统 | |||
| 散热器供暖系统 | |||
| 散热器采暖供水系统 | |||
| 散热器采暖回水系统 | |||
| 热水辐射供暖系统 | |||
| 地板采暖供水系统 | |||
| 地板采暖回水系统 | |||
| 通风系统 | 机械排风系统 | ||
| 进风系统 | |||
| 新风系统 | |||
| 回风系统 | |||
| 补风系统 | |||
| 排烟系统 | |||
| 加压系统 | |||
| 事故排风系统 | |||
| 事故送风系统 | |||
| 平时排风兼排烟系统 | |||
| 平时进风兼补风系统 | |||
| 平时兼事故排风系统 | |||
| 平时兼事故送风系统 | |||
| 人防排风 | |||
| 人防送风 | |||
| 排油烟系统 | |||
| 空调送风系统 | |||
| 除尘与有害气体净化系统 | 除尘系统 | ||
| 气体净化系统 | |||
| 抑尘及真空清扫系统 | |||
| 电气系统 | 电气系统 | 供配电系统 | 高压桥架 |
| 强电桥架 | |||
| 强电消防桥架 | |||
| 母线 | |||
| 弱电桥架 | |||
| 综合布线桥架 | |||
| 有线电视桥架 | |||
| 安防桥架 | |||
| 广播桥架 | |||
| 建筑设备监控桥架 | |||
| 应急电源系统 | |||
| 照明系统 | 电气照明系统 | ||
| 电气照明配电系统 | |||
| 电气照明控制系统 | |||
| 消防应急照明和疏散指示系统 | |||
| 防雷与接地系统 | 防雷与接地系统 | ||
| 特殊场所接地安全防护 | |||
| 智能化系统 | 智能化系统 | 信息化应用系统 | 工作业务应用系统 |
| 物业运营管理系统 | |||
| 公共服务管理系统 | |||
| 公众信息服务系统 | |||
| 智能卡应用系统 | |||
| 信息网络安全管理系统 | |||
| 专业业务系统 | |||
| 智能化集成系统 | 智能化信息集成(平台)系统 | ||
| 集成信息应用系统 | |||
| 信息设施系统 | 通信接入系统 | ||
| 电话交换系统 | |||
| 信息网络系统 | |||
| 综合布线系统 | |||
| 室内移动通信覆盖系统 | |||
| 卫星通信系统 | |||
| 有线电视及卫星电视接收系统 | |||
| 广播系统 | |||
| 会议系统 | |||
| 信息导引及发布系统 | |||
| 时钟系统 | |||
| 建筑设备管理系统 | 建筑设备监控系统 | ||
| 建筑能效监控系统 | |||
| 火灾自动报警控制系统 | 火灾报警控制系统 | ||
| 消防专用电话系统 | |||
| 消防应急广播系统 | |||
| 消防电源监控系统 | |||
| 电气火灾自动报警系统 | |||
| 防火门监控系统 | |||
| 公共安全系统 | 安全防范综合管理系统 | ||
| 入侵报警系统 | |||
| 视频安防监控系统 | |||
| 出入口控制系统 | |||
| 电子巡查管理系统 | |||
| 访客对讲系统 | |||
| 停车库(场)管理系统 | |||
| 应急联动系统 | |||
| 机房工程 | 信息中心设备机房 | ||
| 数字程控交换机系统设备机房 | |||
| 通信系统总配线设备机房 | |||
| 消防监控中心机房 | |||
| 安防监控中心机房 | |||
| 智能化系统设备总控室 | |||
| 通信接入系统设备机房 | |||
| 有线电视前端设备机房 | |||
| 应急指挥中心机房 | |||
| 弱电间(电信间) | |||
| 动力系统 | 动力系统(含小市政部分) | 热力系统 | 热水系统 |
| 蒸汽系统 | |||
| 凝结水系统 | |||
| 废汽系统 | |||
| 水处理系统(锅炉房) | |||
| 烟风系统(锅炉房) | |||
| 排污系统(锅炉房) | |||
| 燃气系统 | 天然气系统 | ||
| 人工煤气系统 | |||
| 液化石油气系统 | |||
| 油系统 | 燃料油系统(柴油、重油等) | ||
| 导热油系统 | |||
| 工业油系统 | |||
| (液压油、齿轮油、润滑油等) | |||
| 燃煤系统 | - | ||
| 气体系统 | 压缩空气系统 | ||
| 氧气系统 | |||
| 氮气系统 | |||
| 二氧化碳系统 | |||
| 氢气系统 | |||
| 乙炔系统 | |||
| 氩气系统 | |||
| 其他气体系统(含混合气) | |||
| 真空系统 | - | ||
| 施工组织 | 施工组织模型系统 | 施工场地/项目部办公区/ 项目管理人员生活区/工人生活区等 | 施工场地空间 |
| 施工便道 | |||
| 大型施工设备 | |||
| 现场环境监测 | |||
| 安全监控 | |||
| 公共资源申请 | |||
| 管线迁改 | |||
| 园林迁移 | |||
| 交通导行 | |||
| 河道导改(施工导流) | |||
| 其他 |
# 扩展对象
我们把规范外的其他对象进行了简单的分类,目前分为实体对象和概念对象。
# 实体对象
实体对象诸如 洗面盆、便器、热水器 或 灶台、油烟机、洗衣机之类的水、电终端设备。
# 概念对象
概念对象则基本为空间表述,诸如厨房、卫生间、客厅、套、单元。
# 基本算法
我们对规范中常见的一些算法进行了提取和归类,方便程序调用。

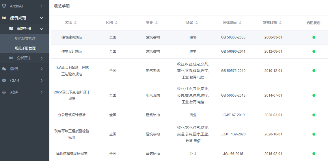
# 建筑规范管理
建筑规范管理,主要是对整个规范库的书目进行分类和管理
主要包含 书名、地区(国标 or 地标)、专业、场景、标准编码 等内容

# 规范条文管理
具体的条文管理包含内容管理和规范核验内容两大部分。

其中对条文内容进行核验对象的配对和核验公式的填充将帮助我们的智能审图更好的工作。
# 公式编辑器
通过公式编辑器,我们可以将已经分好类的建筑构件、对象,和算法进行关联,从而完成对建筑规范的赋能。让纯文字的规范产生数据价值
